
大连万达集团股份有限公司及其法定代表人王健林等,9月28日传出被限制高消费。开启“卖卖卖”模式的万达集团,今年来已陆续出售7座万达广场,但仍未成功从债务漩涡中脱身。
关于王健林被“限高”的消息,万达知情人士对财联社记者表示,“此次是由于万达下属项目公司经济纠纷导致,事实上之前双方一直在通过多种方式协商解决,我们也正在了解具体情况,本次或因在执行层面信息不对称导致。”
天眼查App显示,这则限制消费令的执行法院为甘肃省兰州市中级人民法院。案件流程信息显示,今年7月,大连万达集团股份有限公司等已因此案被执行1.86亿余元。
案件审理流程。企查查APP
大连万达集团股份有限公司成立于1992年9月,注册资本10亿人民币,经营范围包括货物进出口、技术进出口、国内一般贸易等。
股东信息显示,该公司由大连合兴投资有限公司、王健林共同持股。天眼风险信息显示,该公司现存10条被执行人信息,被执行总金额超52亿元。
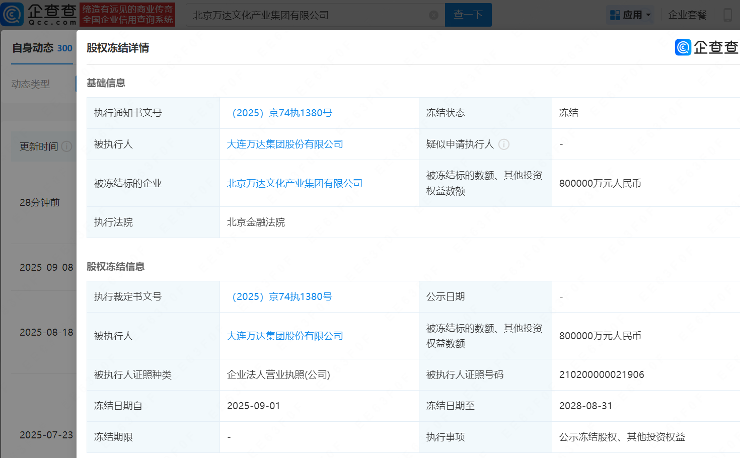
另据企查查APP显示,近日,北京万达文化产业集团有限公司再次新增1条股权冻结信息,被执行人为大连万达集团股份有限公司,冻结股权数额为80亿元,冻结期限为2025年9月1日至2028年8月31日,执行法院为北京金融法院。
北京万达文化产业集团近日再新增一条股权冻结信息。企查查APP
今年3月,北京万达文化产业集团已被冻结80亿元,冻结期限为2025年3月18日至2028年3月17日,执行法院为河南省郑州市中级人民法院。企查查信息显示,北京万达文化产业集团有限公司成立于2012年9月,法定代表人张春远,注册资本80亿元,由大连万达集团股份有限公司全资持股。
观察者网此前报道,对于万达频繁出现股权冻结情况,中国企业资本联盟副理事长柏文喜指出,直接原因是债务问题,从公开司法信息看,每一次股权冻结几乎都对应一笔到期未清偿的债务,涉及银行贷款、信托计划等。
已开启“卖卖卖”模式的万达集团,仍未成功从债务漩涡中脱身。
其债务压力,主要源于此前投资失策。
2016年,王健林公开叫板迪士尼,并霸气表示要在2020年前将万达文旅城开遍全国。当时下半年,万达就开始在全国各地大规模投资文旅城,这些文旅项目的单体投资都接近400亿。然而资金链很快吃紧、项目推进困难,王健林不得不在2017年忍痛割爱,将全国十来家文旅城整体卖给了融创,同时将近80家五星级酒店打包出售给富力集团。这一系列资产抛售,一定程度缓解了资金压力。
但为了进一步改善局面,王健林又将目光投向资本市场。
同样是2016年,因万达在港股估值低迷,他将万达从港股退市去冲击A股,试图通过上市来筹集资金,并大胆签订了“对赌协议”。但监管政策突变,导致其上市梦碎,从2016至2023年,他先后进行了三次上市对赌,但命运并未眷顾,这三次对赌均以失败告终,每一次失败都让万达的债务负担愈发沉重。
去年,万达不仅出售了26座万达广场,还丧失了对珠海万达商管的控制权,这是王健林手中最重要的筹码。太盟等机构联合投资约600亿元后,大连万达商管对珠海万达商管的持股比例从78.83%降至40%,王健林不再掌舵。
今年8月,王健林罕见在克拉玛依现身,探讨和当地合作的可能性
今年,万达资产抛售的节奏进一步加快。
4月份,王健林作价24.9亿元将万达酒店管理公司100%股权卖给同程旅行。5月份,国家市场监督管理总局批准了由太盟、高和丰德、腾讯、京东潘达、阳光人寿等机构组成的联合体对大连万达商管旗下48家目标公司的收购案,涉及全国39个城市的48座万达广场。7月份,又准备以2.4亿元的价格将快钱金融30%股权卖给中国儒意。
有市场消息称,5月份交易的金额将达到500亿元,会大大缓解万达集团的流动性压力。
就在8月25日,这笔交易迎来实质性进展,由太盟、高和丰德、腾讯、京东潘达等13家企业组成的私募基金“苏州宽遇”成立,总出资额224.29亿元。此外,万达还分别与京东、腾讯成立了合资企业。
每日经济新闻统计,2025年以来,万达陆续有7座万达广场被零散出售,而在2023年-2024年间,据不完全统计,王健林陆续出售超30座万达广场。